Atılım Üniversitesi Logo
  • ATILIM ONLINE
  • INTERNATIONAL
  • ARGEDA-TTO
  • ATUSEM
  • Distance Education
  • LIBRARY
  • 360° TOUR
  • VR
  • Contact
  • Turkish
Atılım Üniversitesi Logo
  • ABOUT THE UNIVERSITY
    • General Information
    • University Administration
      • Board of Trustees
      • President's Office
        • President's Office
        • President
        • Vice President for Academic Operations
        • Vice President for Research
        • Executive Secretariat of the Presidency
      • University Senate
      • University Executive Committee
      • Organization Chart
      • Our Presidents
    • Atılım on the Rise
    • Corporate Identity
    • Photo Gallery
    • Legislation
    • Accreditations
    • ECTS Information Guide
  • ACADEMIC
    • School of Arts & Sciences
      • English Language and Literature
      • English Translation & Interpretation
      • Mathematics
      • Psychology
      • Social Sciences for University wide Courses
    • School of Fine Arts, Design and Architecture
      • Industrial Design
      • Graphic Design
      • Fine Arts and Elective Courses
      • Interior Architecture and Environmental Design
      • Architecture
      • Textile & Fashion Design
    • School of Law
    • School of Business
      • Public Relations and Advertising
      • Economics
      • Economics (English)
      • Business
      • Business (English)
      • Public Finance
      • Political Science and Public Administration
      • Tourism Management
      • International Relations
      • International Trade and Logistics
    • School of Engineering
      • Computer Engineering
      • Information Systems Engineering
      • Electrical-Electronics Engineering
      • Industrial Engineering
      • Energy Systems Engineering
      • Physics Group
      • Aerospace Engineering
      • Manufacturing Engineering
      • Civil Engineering
      • Chemical Engineering
      • Mechanical Engineering
      • Mechatronics Engineering
      • Metallurgical and Materials Engineering
      • Automotive Engineering
      • Software Engineering
    • School of Health Sciences
      • Nutrition and Dietetics
      • Child Development
      • Physiotheraphy and Rehabilitation
      • Nursing
      • Audiology
    • School of Medicine
    • Vocational School
      • Justice Program
      • E - Commerce and Marketing
      • Court Office Services
    • Vocational School of Health Services
      • Department Of Therapy and Rehabilitation
        • Physiotherapy Program
      • Department Of Medical Services and Techniques
        • Operating Room Services Program
        • Anesthesia Program
        • First and Emergency Aid Program
        • Medical Imaging Techniques Program
        • Medical Laboratory Techniques Program
    • School of Civil Aviation (4-Year)
      • Aviation Management
      • Pilot Training
      • Avionics
      • Airframe and Powerplant Maintenance
    • School of Foreign Languages
      • Modern Languages
      • Basic English (Prep School)
    • Graduate School of Natural and Applied Sciences
      • Department of Computer Engineering
      • Department of Information Systems Engineering
      • Department of Electrical & Electronics Engineering
      • Department of Industrial Engineering
      • Department of Physics
      • Department of Manufacturing Engineering
      • Department of Civil Engineering
      • Department of Chemistry
      • Department of Chemical Engineering
      • Department of Mechanical Engineering
      • Department of Mathematics
      • Department of Mechatronics Engineering
      • Department of Metallurgical and Materials Engineering
      • Department of Architecture
      • Department of Modeling and Design of Engineering Systems
      • Department of Software Engineering
    • Graduate School of Health Sciences
      • Department of Physiotherapy and Rehabilitation
      • Department of Kinesiology
      • Department of Nursing
    • Graduate School of Social Sciences
      • Department of Public Relations and Advertising
      • Department of Interior Architecture and Environmental Design
      • Department of Economics
      • Department of English Language and Literature
      • Department of Business
      • Department of Public Law
      • Department of Public Administration and Political Science
      • Department of Clinical Psychology
      • Department of Public Finance
      • Department of Translation and Interpretation
      • Department of Private Law
      • Department of Tourism and Hotel Management
      • Department of International Relations
      • Department of International Trade and Logistics
  • ADMINISTRATIVE UNITS
    • Directorates
      • Directorate of the ARGEDA - Technology Transfer Office
      • Directorate of Information and Communication Technologies
      • Directorate of Legal Counseling
      • Directorate of Human Resources
      • Directorate of Corporate Communication and Promotion
      • Directorate of Library and Documentation
      • Directorate of Financial Affairs and Budget
      • Directorate of Student Affairs
      • Directorate of Purchasing
      • Directorate of Social Affairs and Sports
      • Directorate of International Relations
      • Directorate of Construction
    • Coordination Offices
      • Coordination Office of Archive and Document Management
      • Coordination Office of Landscaping
      • Coordination Office of Security
      • Coordination Office of Communication and Registry
      • Coordination Office of Career Planning and Cooperative Education
      • Coordination Office of Corporate Planning and Data Management
      • Coordination Office of Health Services
      • Coordination Office of Technical Services
      • Coordination Office of Social Contribution
      • Coordination Office of Distance Learning and Educational Technologies
      • Coordination Office of Auxiliary Services
      • Coordination Office of Registry
    • Management Offices
      • Management Office of Cultural and Social Affairs
      • Management Office of the Teaching and Learning Center
      • Management Office of the Metal Forming Center of Excellence
      • Management Office of the Executive Secretary for the Board of Trustees
      • Management Office of the Chief of Staff of the Presidency
      • Management Office of Sports
      • Management Office of the Continuing Education Center
      • Management Office of the Flight School
    • Offices
      • Course and Exam Schedule Office
      • Translation and Interpretation Office
      • Transportation Office
    • Support Unit for People with Special Needs
    • Information Request Unit
  • RESEARCH
    • Research Outputs
    • Research Laboratories
    • Research Centers
      • Women’s Studies Center
      • Metal Forming Center of Excellence
      • Performance Measurement Application and Research Center
      • Defense Technologies Application and Research Center
      • Historical Research and Application Center
    • Research Policies
    • Research Projects
    • ARGEDA Technology Transfer Office
    • Scientific Publication Awards
    • Internal Support Programs
    • Awards
  • Student Affairs
  • STUDENTS
    • Academic Calendar
    • Directorate of Student Affairs
    • Office of Dean of Students
      • Student Development and Counseling Center
      • Support Unit for People with Special Needs
    • Student-Oriented Programs
      • ATU 200/400 Research Project Participation
      • Honor/High Honor Students
      • Cooperative Education
      • LAP - Undergraduate Research Projects
      • Clubs and Societies
      • Erasmus
      • Atilim mPAD
      • LAP - Undergraduate Research Projects
  • Campus Life
    • Transportation
    • Catering
    • Health Services
    • Sports
    • Dormitories
    • Radio Atılım
    • Student Clubs and Communities
    • Traffic Rules
    • Photo Gallery
    • Atılım News
  • University Candidates
  • |
  • |

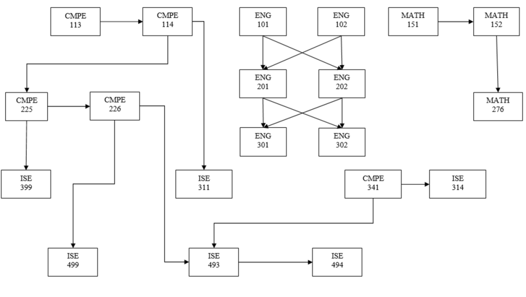
Prerequisite Rules

  • Home Page
  • School Of Engineering
  • Information Systems Engineering
  • Undergraduate Programs

Information Systems Engineering

  • About the Department
    • Chairperson’s Message
    • Promotional Brochure
    • F.A.Q.
    • Educational Objectives
    • Program Outcomes
  • Staff
    • Academic Staff
    • Administrative Staff
  • Undergraduate Programs
    • Curriculum
    • Courses
    • Co-Op
    • Bologna Process Information
    • Prerequisite Rules
  • Double Major Programs
  • Double Minor Program
  • Graduate Programs
  • For Students
    • Summer Practice
    • Petitions
  • Laboratories
  • Open Faculty Positions
  • Contact
1671455447-SCR-20221219-mfo.png


Atılım Üniversitesi
Kızılcaşar Mahallesi, İncek / Ankara / See On The Map

+90 (312) 586 80 00 +90 (312) 586 80 90 info@atilim.edu.tr

Atılım Üniversitesi

  • General Information
  • Academic Calendar
  • Atilim Online
  • Research
  • Campus Life
  • Library
  • Photo Gallery
  • Contact

Quick Access

  • Course Schedules
  • Academic Calendar
  • E-MAIL
  • EBYS
  • MATLAB
tassa eua qs sanayi the rankingweb
  • ABOUT THE UNIVERSITY
    • General Information
    • University Administration
      • Board of Trustees
      • President's Office
        • President's Office
        • President
        • Vice President for Academic Operations
        • Vice President for Research
        • Executive Secretariat of the Presidency
      • University Senate
      • University Executive Committee
      • Organization Chart
      • Our Presidents
    • Atılım on the Rise
    • Corporate Identity
    • Photo Gallery
    • Legislation
    • Accreditations
    • ECTS Information Guide
  • ACADEMIC
    • School of Arts & Sciences
      • English Language and Literature
      • English Translation & Interpretation
      • Mathematics
      • Psychology
      • Social Sciences for University wide Courses
    • School of Fine Arts, Design and Architecture
      • Industrial Design
      • Graphic Design
      • Fine Arts and Elective Courses
      • Interior Architecture and Environmental Design
      • Architecture
      • Textile & Fashion Design
    • School of Law
    • School of Business
      • Public Relations and Advertising
      • Economics
      • Economics (English)
      • Business
      • Business (English)
      • Public Finance
      • Political Science and Public Administration
      • Tourism Management
      • International Relations
      • International Trade and Logistics
    • School of Engineering
      • Computer Engineering
      • Information Systems Engineering
      • Electrical-Electronics Engineering
      • Industrial Engineering
      • Energy Systems Engineering
      • Physics Group
      • Aerospace Engineering
      • Manufacturing Engineering
      • Civil Engineering
      • Chemical Engineering
      • Mechanical Engineering
      • Mechatronics Engineering
      • Metallurgical and Materials Engineering
      • Automotive Engineering
      • Software Engineering
    • School of Health Sciences
      • Nutrition and Dietetics
      • Child Development
      • Physiotheraphy and Rehabilitation
      • Nursing
      • Audiology
    • School of Medicine
    • Vocational School
      • Justice Program
      • E - Commerce and Marketing
      • Court Office Services
    • Vocational School of Health Services
      • Department Of Therapy and Rehabilitation
        • Physiotherapy Program
      • Department Of Medical Services and Techniques
        • Operating Room Services Program
        • Anesthesia Program
        • First and Emergency Aid Program
        • Medical Imaging Techniques Program
        • Medical Laboratory Techniques Program
    • School of Civil Aviation (4-Year)
      • Aviation Management
      • Pilot Training
      • Avionics
      • Airframe and Powerplant Maintenance
    • School of Foreign Languages
      • Modern Languages
      • Basic English (Prep School)
    • Graduate School of Natural and Applied Sciences
      • Department of Computer Engineering
      • Department of Information Systems Engineering
      • Department of Electrical & Electronics Engineering
      • Department of Industrial Engineering
      • Department of Physics
      • Department of Manufacturing Engineering
      • Department of Civil Engineering
      • Department of Chemistry
      • Department of Chemical Engineering
      • Department of Mechanical Engineering
      • Department of Mathematics
      • Department of Mechatronics Engineering
      • Department of Metallurgical and Materials Engineering
      • Department of Architecture
      • Department of Modeling and Design of Engineering Systems
      • Department of Software Engineering
    • Graduate School of Health Sciences
      • Department of Physiotherapy and Rehabilitation
      • Department of Kinesiology
      • Department of Nursing
    • Graduate School of Social Sciences
      • Department of Public Relations and Advertising
      • Department of Interior Architecture and Environmental Design
      • Department of Economics
      • Department of English Language and Literature
      • Department of Business
      • Department of Public Law
      • Department of Public Administration and Political Science
      • Department of Clinical Psychology
      • Department of Public Finance
      • Department of Translation and Interpretation
      • Department of Private Law
      • Department of Tourism and Hotel Management
      • Department of International Relations
      • Department of International Trade and Logistics
  • ADMINISTRATIVE UNITS
    • Directorates
      • Directorate of the ARGEDA - Technology Transfer Office
      • Directorate of Information and Communication Technologies
      • Directorate of Legal Counseling
      • Directorate of Human Resources
      • Directorate of Corporate Communication and Promotion
      • Directorate of Library and Documentation
      • Directorate of Financial Affairs and Budget
      • Directorate of Student Affairs
      • Directorate of Purchasing
      • Directorate of Social Affairs and Sports
      • Directorate of International Relations
      • Directorate of Construction
    • Coordination Offices
      • Coordination Office of Archive and Document Management
      • Coordination Office of Landscaping
      • Coordination Office of Security
      • Coordination Office of Communication and Registry
      • Coordination Office of Career Planning and Cooperative Education
      • Coordination Office of Corporate Planning and Data Management
      • Coordination Office of Health Services
      • Coordination Office of Technical Services
      • Coordination Office of Social Contribution
      • Coordination Office of Distance Learning and Educational Technologies
      • Coordination Office of Auxiliary Services
      • Coordination Office of Registry
    • Management Offices
      • Management Office of Cultural and Social Affairs
      • Management Office of the Teaching and Learning Center
      • Management Office of the Metal Forming Center of Excellence
      • Management Office of the Executive Secretary for the Board of Trustees
      • Management Office of the Chief of Staff of the Presidency
      • Management Office of Sports
      • Management Office of the Continuing Education Center
      • Management Office of the Flight School
    • Offices
      • Course and Exam Schedule Office
      • Translation and Interpretation Office
      • Transportation Office
    • Support Unit for People with Special Needs
    • Information Request Unit
  • RESEARCH
    • Research Outputs
    • Research Laboratories
    • Research Centers
      • Women’s Studies Center
      • Metal Forming Center of Excellence
      • Performance Measurement Application and Research Center
      • Defense Technologies Application and Research Center
      • Historical Research and Application Center
    • Research Policies
    • Research Projects
    • ARGEDA Technology Transfer Office
    • Scientific Publication Awards
    • Internal Support Programs
    • Awards
  • Student Affairs
  • STUDENTS
    • Academic Calendar
    • Directorate of Student Affairs
    • Office of Dean of Students
      • Student Development and Counseling Center
      • Support Unit for People with Special Needs
    • Student-Oriented Programs
      • ATU 200/400 Research Project Participation
      • Honor/High Honor Students
      • Cooperative Education
      • LAP - Undergraduate Research Projects
      • Clubs and Societies
      • Erasmus
      • Atilim mPAD
      • LAP - Undergraduate Research Projects
  • Campus Life
    • Transportation
    • Catering
    • Health Services
    • Sports
    • Dormitories
    • Radio Atılım
    • Student Clubs and Communities
    • Traffic Rules
    • Photo Gallery
    • Atılım News
  • University Candidates
  • ULUSLARARASI
  • CONTACT
  • Turkish